Изготовление резонансного усилителя мощности Степанова: полезные советы и рекомендации
Хотите самостоятельно создать резонансный усилитель мощности Степанова? В нашей статье вы найдете подробную инструкцию, а также много полезных советов и рекомендаций. Не требуется специальное оборудование или глубокие знания в электронике - следуя нашим рекомендациям, вы сможете сделать это своими руками.

Выберите подходящие компоненты для вашего резонансного усилителя мощности. Здесь важно учесть требования, поставленные вашим проектом, и обратить внимание на качество компонентов. Не стоит экономить на них, так как это может отразиться на работоспособности вашего устройства.

БТГ трансформатор Фролова ТАКОГО ВЫ НЕ ВИДЕЛИ!!!

Планируйте свое время и ресурсы заранее. Создание резонансного усилителя мощности требует времени и терпения. Предварительная подготовка и планирование позволят избежать непредвиденных ситуаций в процессе сборки и настройки устройства.

ДЖОУЛЬ ВОР НА САМОДЕЛЬНОЙ МИКРОСХЕМЕ

Изучите теорию работы резонансного усилителя мощности Степанова. Углубленное понимание принципов работы позволит вам справиться с возникающими проблемами и настроить устройство на максимальную эффективность.

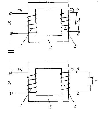
Лекция 7. Принцип работы и простейшая схема резонансного усилителя мощности

Следуйте инструкциям по сборке и настройке резонансного усилителя мощности. Не пропускайте ни одного шага и внимательно следуйте указаниям. Это поможет избежать ошибок и добиться оптимальной работоспособности вашего устройства.

promo-macchoco.ru promo-macchoco.ruоискатель своими promo-macchoco.ruель и promo-macchoco.ru 10копеек с 12см.

Не бойтесь экспериментировать и вносить свои коррективы. Резонансный усилитель мощности Степанова - это творческий процесс, и каждый проект может иметь свои особенности. Если у вас есть идеи и предложения, попробуйте их воплотить в жизнь.

ОТОПЛЕНИЕ ДОМА .ФРОЛОВ ОТКРЫВАЕТ СЕКРЕТЫ БТГ!!!!


Обратите внимание на безопасность. Работа с электричеством может быть опасной, поэтому не забывайте о правилах безопасности. Предпринимайте все необходимые меры, чтобы избежать поражения электрическим током и других возможных несчастных случаев.

Проверьте работоспособность вашего усилителя перед использованием. Проведите все необходимые тесты и проверки для убедительности, что ваше устройство функционирует корректно и безопасно.

Резонансный трансформатор под нагрузкой. КПД 400 процентов.
Не забывайте о теплоотводе. В процессе работы резонансного усилителя мощности может нагреваться, поэтому обеспечьте достаточное охлаждение устройства. Используйте радиаторы и вентиляцию для предотвращения перегрева.

Не хуже promo-macchoco.ruик из РЕЗИСТОРА ПЭВ-10 на 220 Вольт

Изучите возможности настройки усилителя для достижения нужного звучания. Звуковые настройки и регулировки могут влиять на эффектность работы устройства. Экспериментируйте с параметрами, чтобы найти оптимальное соотношение звучания и энергопотребления.

Тороидальный силовой трансформатор своими руками

Не бойтесь делиться опытом и общаться с другими энтузиастами. В мире есть множество людей, которые увлечены созданием и настройкой резонансных усилителей мощности. Обращайтесь к ним за советами и помощью, а также делитесь своими успехами и проблемами. Вместе вы сможете достичь большего!

Эффект promo-macchoco.ru разряда конденсатора можно дробить promo-macchoco.ruваю мини-эффект